All posts tagged "stylus"
-
Kütyük
Erről bezzeg hallgat a Samsung!
2016. január 19. keddNem verték nagydobra, pedig a koreaiak megoldást találtak a Note5 egy kínos hibájára.
-
Kütyük
Bemutatkozott az LG G4 Stylus
2015. május 19. keddAz okosceruzás modell igaz a G4 nevet viseli, de meg sem közelíti a csúcsmodell képességeit.
-
Kütyük
Teszt: LG G3 Stylus – Csak a stílus maradt
2015. március 13. péntekAz LG új modellje a G3-at másolja, de a csinos külső ezúttal egy átlagos belsőt takar.
-
Kütyük
Testreszabható a Surface Pro 3 okostolla
2014. október 13. hétfőA frissítéssel két új opció vált elérhetővé, amire már minden felhasználó nagyon várt: testreszabható nyomásérzékenység és...
-
Tablet
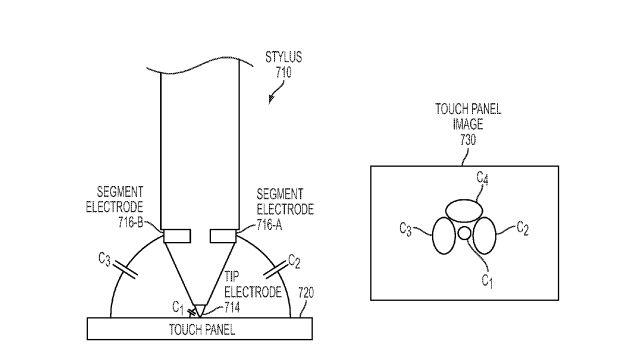
Az Apple újra feltalálja a stylus-t
2014. március 21. péntekEgy érdekes és különleges szabadalom van bejegyezve a kaliforniai gyártó neve alatt.
-
Viselhető Tech
Karkötőként is használható az LG stylus-sza
2014. március 20. csütörtökEgyedi dizájnt kapott a dél-koreai vállalat tartozéka.
-
Kütyük
Stylus-on dolgozik az Apple
2014. január 29. szerdaKülönleges funkciókkal jönne az Apple stylus.



